半岛综合app官网下载苹果 TIELING.GOV.CN

政府信息公开

铁岭市统计局政府信息公开指南

 为了更好地提供政府信息公开服务,本机关制作和从公民、法人或者其他组织获取并由本机关保存的政府信息,除依法免予公开的以外,由本机关负责主动公开或者依公民、法人或者其他组织的申请予以提供。根据《中华人民共和国政府信息公开条例》,本机关编制了《铁岭市统计局政府信息公开指南》(以下简称《指南》)。需要获得本机关政府信息公开服务的公民、法人或者其他组织,建议阅读本《指南》。

  一、政府信息公开工作机构

  本机关政府信息公开工作机构为:铁岭市统计局办公室、综合核算和设计管理统计科、统计执法与法治监督科。

  办公地址:铁岭市统计局  邮政编码:112000

  办公时间:上午8:30-11:30,下午13:30-17:00(工作日)

  联系电话:024-72681866(传真)

  024-72681828

  024-72681808

  电子信箱:tlstjjbgs@163.com

  本机关政府信息公开申请受理机构为:铁岭市统计局办公室、综合核算和设计管理统计科、统计执法与法治监督科。

  二、主动公开

  (一)公开范围

  根据《中华人民共和国统计法》、《中华人民共和国政府信息公开条例》和《辽宁省政府信息公开规定》要求,为更好地提供政府信息公开服务,本机关编制了《铁岭市统计局信息公开指南》(以下简称《指南》),需要获得政府信息公开服务的公民、法人和其他组织,建议阅读本《指南》。政府信息公开如发生变化,《指南》将及时做出更新。

  (二)公开内容

  1.部门文件;

  2.政策解读;

  3.机关简介;

  4.权责清单;

  5.部门会议;

  6.意见征集;

  7.决策部署;

  8.统计信息;

  9.行政执法;

  10.决算/预算;

  11.建议提案;

  12.人事信息;

  13.其他需要公开的政府统计信息。

  具体信息可参见《铁岭市统计局政府信息公开目录》。

  (三)信息分类和编排体系

  主动公开政府信息按照组配分类编排。有“政策法规、部门文件、政策解读、机关简介、权责清单、部门会议、意见征集、决策部署、统计信息、行政执法、预算/决算、建议提案、人事信息”等内容。

  (四)公开方式

  主动公开的政府信息将通过半岛综合app官网下载苹果 网站向社会公开。另外,还将通过“铁岭统计”微信公众号、《统计公报》、《统计年鉴》、报刊、广播、电视、市档案馆和图书馆馆藏的统计公开出版物等载体予以公开。

  (五)公开时限

  属于主动公开范围的政府信息,自信息形成或者变更之日起20个工作日内予以公开。法律、法规对政府信息公开的期限另有规定的,从其规定。

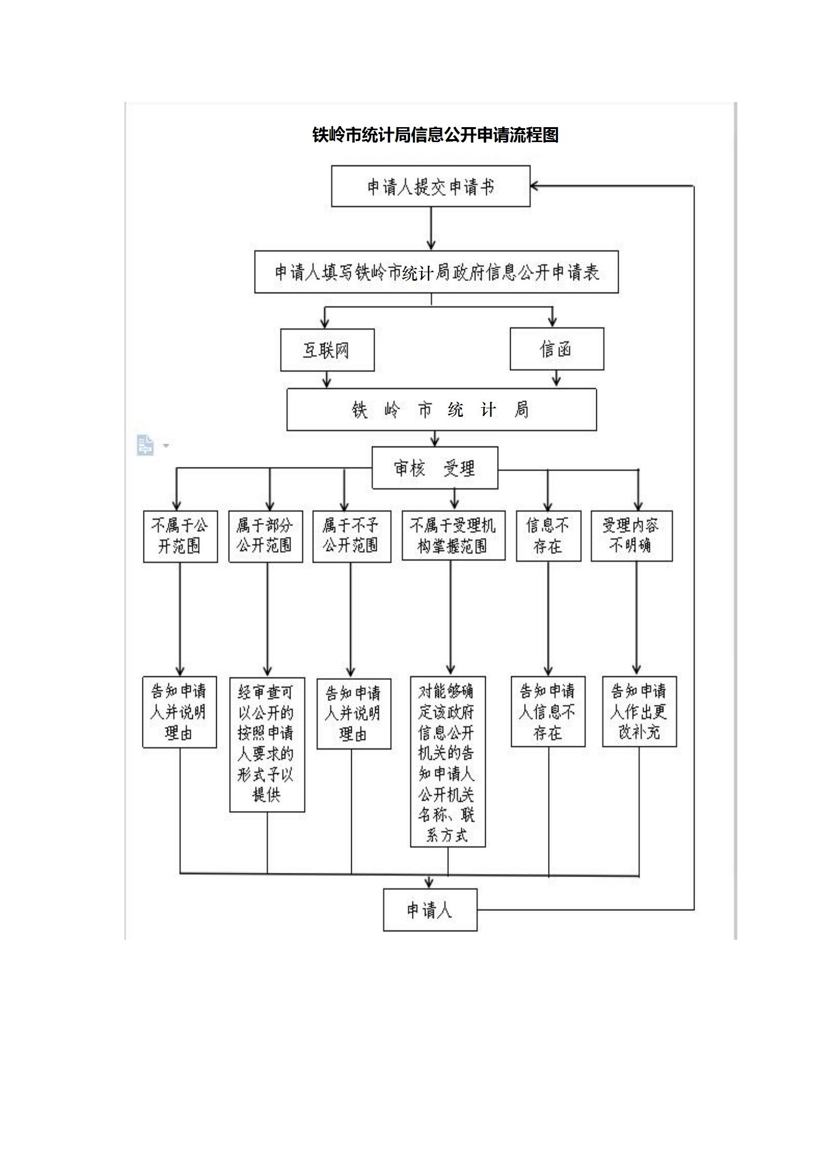
  三、依申请公开

  公民、法人或者其他组织(以下简称申请人)可申请公开行政机关主动公开以外的政府信息。行政机关在公开政府信息前,依照《中华人民共和国保守国家秘密法》以及其他法律、法规和国家有关规定对拟公开的政府信息进行审查。

  行政机关受理依申请公开政府信息时,根据现有政府信息的实际物理状态提供,不承担对政府信息进行搜集、加工、整理、分析的义务,需要进行脱敏、脱密处理的除外。

  (一)确定被申请机关

  为有利于申请人准确快捷获取政府信息,申请人在申请政府信息时应先确定被申请机关,即被申请机关应当是所需信息的制作机关或牵头制作机关;行政机关从公民、法人和其他组织获取的政府信息,由保存该政府信息的行政机关负责公开。

  市统计局办公室负责公开由铁岭市统计局及市局机关各单位制作或保存的政府信息。

  (二)受理机构

  根据《条例》第十条、第二十七条、第二十八条等有关规定,市统计局办公室依法受理向铁岭市统计局提出的政府信息申请,具体承办部门为市统计局办公室。

  (二)申请的提出

  申请人通过现场、信函、传真和电子邮件提出申请的,应填写《铁岭市统计局政府信息公开申请表》(以下简称《申请表》,详见附件1),书面《申请表》可在受理地点领取或从铁岭市统计局门户网站“政务公开”“政府信息公开指南”栏目下载打印。

  申请人提出申请时,应提供本人有效身份证件复印件;法人或组织提出申请,应提供营业执照复印件。

  申请人在填写《申请表》时,应按规定认真填写,真实写明下列内容:

  1.申请人的姓名或名称、身份证号或统一社会信用代码、联系方式、地址;

  2.详细描述所需的政府信息,包括政府信息的文件标题、发布时间、文号、制作机关或者其他有助于查找确定信息内容的特征描述;

  3.获取信息的方式、途径。

  (三)申请方式

  向市统计局申请获取政府信息的,可采取以下方式提出申请:

  1.现场申请

  申请人可以到市统计局信息公开受理点现场提出书面申请。

  地址:铁岭市凡河新区金沙江路38号。

  受理时间:8:30-11:30,13:30-17:00(节假日、公休日除外)

  2.信函申请

  申请人可以通过信函方式提出申请。在信封显著位置注明“政府信息公开申请”字样,邮寄至铁岭市统计局办公室。信函应通过中国邮政的挂号信或EMS特快专递邮寄,不受理快递文件形式的申请。特快专递申请式样详见附件2。

  地址:铁岭市凡河新区金沙江路38号。

  联系电话:024-72681866

  邮编:112000

  3.传真申请

  申请人可以通过传真形式提出申请,将政府信息公开申请表及身份证明复印件传真至铁岭市统计局办公室。

  传真号码:024-72681866

  4.依申请公开网上受理平台申请

  申请人可登陆铁岭市统计局门户网站,点击“政务公开”“依申请公开”栏目,通过依申请公开网上受理平台申请。

  (四)处理程序与时限

  1.行政机关收到政府信息公开申请后,予以登记,除可以当场答复的外,自收到申请之日起20个工作日内予以答复;如需延长答复期限的,经本行政机关负责人同意并书面告知申请人,延长答复的期限最长不超过20个工作日。

  2.申请人所提申请内容不明确或者申请不符合规定要求的,行政机关自收到申请之日起7个工作日内一次性告知申请人作出补正,明确需要补正的事项,申请人补正时间为收到补正告知书10个工作日。答复期限自收到补正的申请之日起计算。申请人无正当理由逾期不补正的,视为放弃申请,行政机关不再处理该政府信息公开申请。

  3.依申请公开的政府信息公开涉及第三方合法权益的,行政机关书面征求第三方的意见。第三方应当自收到征求意见书之日起15个工作日内提出意见。

  4.征求第三方和其他机关意见所需时间不计算在《条例》第三十三条第二款规定的期限内。

  (五)书面答复

  根据《条例》有关规定,行政机关对政府信息公开申请作出相应书面答复:

  1.所申请公开信息已经主动公开的,告知申请人获取该政府信息的方式、途径;

  2.所申请公开信息可以公开的,向申请人提供该政府信息,或者告知申请人获取该政府信息的方式、途径和时间;

  3.依据《条例》的规定决定不予公开的,告知申请人不予公开并说明理由;

  4.经检索没有所申请公开信息的,告知申请人该政府信息不存在;

  5.所申请公开信息不属于行政机关负责公开的,告知申请人并说明理由;能够确定负责公开该政府信息的行政机关的,告知申请人该行政机关的名称、联系方式;

  6.已就申请人提出的政府信息公开申请作出答复、申请人重复申请公开相同政府信息的,告知申请人不予重复处理;

  7.所申请公开信息属于工商、不动产登记资料等信息,有关法律、行政法规对信息的获取有特别规定的,告知申请人依照有关法律、行政法规的规定办理;

  8.申请公开的信息中含有不应当公开或者不属于政府信息的内容,但是能够作区分处理的,向申请人提供可以公开的政府信息内容,并对不予公开的内容说明理由;

  9.涉及商业秘密、个人隐私等公开会对第三方合法权益造成损害的政府信息,不予公开。第三方同意公开的,予以公开,第三方逾期未提出意见的,由行政机关依照《条例》的规定决定是否公开。第三方不同意公开且有合理理由的,不予公开。行政机关认为不公开可能对公共利益造成重大影响的,可以决定予以公开,并将决定公开的政府信息内容和理由书面告知第三方;

  10.申请人以政府信息公开申请的形式进行信访、投诉、举报等活动的,告知申请人不作为政府信息公开申请处理并告知通过相应渠道提出;

  11.申请人申请公开政府信息的数量、频次明显超过合理范围,要求申请人说明理由。申请理由不合理的,告知申请人不予处理;申请理由合理,但是无法在《条例》规定的期限内答复申请人的,由行政机关确定延迟答复的合理期限并告知申请人。

  (六)信息处理费

  依据《国务院办公厅关于印发〈政府信息公开信息处理费管理办法〉的通知》(国办函〔2020〕109号)相关规定,为了有效调节政府信息公开申请行为、引导申请人合理行使权利,行政机关可以向申请公开政府信息超出一定数量或者频次范围的申请人收取费用。

  行政机关依法决定收取信息处理费的,应当在政府信息公开申请处理期限内,按照申请人获取信息的途径向申请人发出收费通知,说明收费的依据、标准、数额、缴纳方式等。申请人应当在收到收费通知次日起20个工作日内缴纳费用,逾期未缴纳的视为放弃申请,行政机关不再处理该政府信息公开申请。

  政府信息公开申请处理期限从申请人完成缴费次日起重新计算。

  四、不予公开范围

  1.依法确定为国家秘密的政府信息,法律、行政法规禁止公开的政府信息,以及公开后可能危及国家安全、公共安全、经济安全、社会稳定的政府信息,不予公开。

  2.涉及商业秘密、个人隐私等公开会对第三方合法权益造成损害的政府信息,不予公开。但是,第三方同意公开或者行政机关认为不公开会对公共利益造成重大影响的,予以公开。

  3.内部事务信息,包括人事管理、后勤管理、内部工作流程等方面的信息不予公开。

  4.在履行行政管理职能过程中形成的讨论记录、过程稿、磋商信函、请示报告等过程性信息以及行政执法案卷信息,不予公开。法律、法规、规章规定上述信息应当公开的,从其规定。

  除以上规定之外,还要遵循《中华人民共和国统计法》及相关地方统计工作的法规、制度、规定。

  五、监督保障

  公民、法人或者其他组织认为本机关未依法履行政府信息公开义务的,可以向铁岭市统计局法规科投诉或举报, 监督电话: 024-72681825。

  六、救济途径

  公民、法人或者其他组织认为本机关在政府信息公开工作中的具体行政行为侵犯其合法权益的,可以依法申请行政复议或者提起行政诉讼,即可以在接到信息公开申请答复文书之日起60日内向半岛综合app官网下载苹果 申请行政复议,或者在接到信息公开申请答复文书之日起6个月内向铁岭市昌图县人民法院提起行政诉讼。

铁岭市统计局政府信息公开申请表.doc 

Baidu
map