半岛综合app官网下载苹果 TIELING.GOV.CN

政府信息公开

铁岭市商务局政府信息公开指南

  为了更好地提供政府信息公开服务,便于公民、法人或者其他组织准确地获取铁岭市商务局的政府信息,根据《中华人民共和国政府信息公开条例》(国务院令第711号修订,以下简称《条例》)规定,编制本指南。

  一、政府信息公开负责部门和工作机构

  市商务局办公室是市商务局的政府信息公开工作负责科室,负责承办市商务局政府信息公开工作。

  办公地址:辽宁省铁岭市凡河新区金沙江路38号8楼

  办公时间:8:30—17:00(周一至周五,法定节假日除外)

  联系电话:024-72682518

  传真电话:024-74843409

  二、主动公开

  1.公开范围

  市商务局遵循公正、公平、合法、便民原则,按照《条例》第十九条、第二十条规定,依法向社会主动公开涉及群众切身利益、需要群众广泛知晓或者需要公众参与决策的政府信息,以及依照法律、法规、规章和国家有关规定应当主动公开的信息,并遵照上级行政机关部署,结合实际工作不断增加主动公开内容。

  2.公开内容

  (1)市商务局领导及分工;

  (2)市商务局工作机构及其主要职能、机构设置、联系方式;

  (3)地方性法规,市商务局规范性文件;

  (4)市商务局依法公开的半岛苹果体育官网入口 及解读;

  (5)市商务局重要会议的主要内容;

  (6)市商务局重点工作;

  (7)市商务工作专项规划及相关政策;

  (8)市商务局财政预算、决算报告;

  (9)突发公共事件的应急预案、预警信息及应对情况;

  (10)其他需要公开的政府信息。

  3.信息分类和编排体系

  主动公开政府信息按照组配分类编排。有“履职依据、机关简介、规划信息、预算决算”等内容。

  4.公开方式

  对于主动公开信息,我局主要采取网上公开和现场公开两种形式。网上公开主要通过半岛综合app官网下载苹果 门户网站。我局现场公开受理机构为市商务局办公室,办公时间为工作日,联系电话:024-72682518。

  另外,我局还将通过市政府新闻发布会、报刊、广播、电视等载体予以公开。

  5.公开时限

  属于主动公开范围的政府信息,自信息形成或者变更之日起20个工作日内予以公开。法律、法规对政府信息公开的期限另有规定的,从其规定。

  三、依申请公开

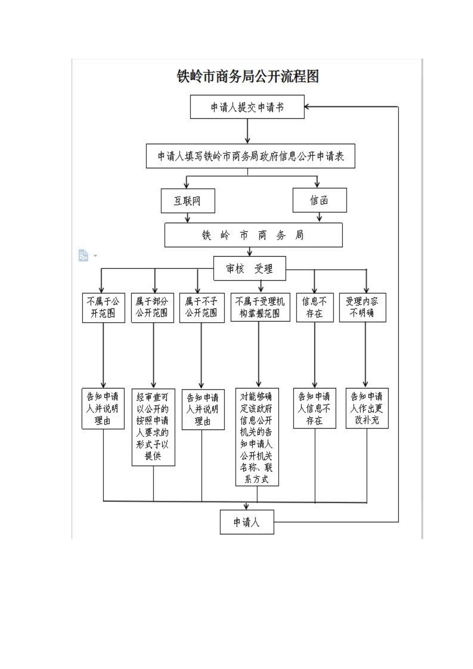
  公民、法人或者其他组织(以下简称申请人)可申请公开市商务局主动公开以外的政府信息。市商务局在公开政府信息前,依照《中华人民共和国保守国家秘密法》以及其他法律、法规和国家有关规定对拟公开的政府信息进行审查。

  依申请公开政府信息时,根据现有政府信息的实际物理状态提供,不承担对政府信息进行搜集、加工、整理、分析的义务,需要进行脱敏、脱密处理的除外。

  (一)受理机构

  市商务局办公室依法受理向市商务局提出的政府信息申请。具体承办机构为市商务局办公室。

  (二)申请的提出

  申请人通过现场、信函、传真和电子邮件提出申请的,应填写《铁岭市商务局政府信息公开申请表》(以下简称《申请表》,详见附件1),书面《申请表》可在市商务局办公室领取或从附件中下载打印。

  申请人提出申请时,应提供本人有效身份证件复印件;法人或组织提出申请,应提供营业执照复印件或相关证明材料。

  申请人在填写《申请表》时,应按规定认真填写,真实写明下列内容:

  1.申请人的姓名或名称、身份证号或统一社会信用代码、联系方式、地址;

  2.详细描述所需的政府信息,包括政府信息的文件标题、发布时间、文号、制作机关或者其他有助于查找确定信息内容的特征描述;

  3.获取信息的方式、途径。

  (三)申请方式

  申请人获取政府信息,可采取以下方式提出申请:

  1.现场申请

  申请人可以到市商务局办公室现场提出书面申请。

  地址:辽宁省铁岭市凡河新区金沙江路38号8楼0810办公室

  受理时间:8:30—17:00(法定节假日、公休日除外)

  2.信函申请

  申请人可以通过信函方式提出申请。在信封显著位置注明“政府信息公开申请”字样,邮寄至铁岭市工业和信息化局综合法规科。信函应通过中国邮政的挂号信或EMS特快专递邮寄。

  地址:辽宁省铁岭市凡河新区金沙江路38号市商务局办公室

  联系电话:024-72682518

  邮编:112008

  3.电子邮件申请

  申请人可下载政府信息公开申请表并发送至邮箱tl74843409@126.com,通过电子邮件提出申请。

  4.传真申请

  申请人可以通过传真形式提出申请,将政府信息公开申请表及身份证明复印件传真至市商务局办公室。

  传真号码:024-74843409。

  (四)处理程序与时限

  1.市商务局办公室收到政府信息公开申请后,予以登记,除可以当场答复外,自收到申请之日起15个工作日内予以答复;如需延长答复期限的,经市商务局政府信息公开工作负责人同意并书面告知申请人,延长答复期限最长不超过15个工作日。

  2.申请人所提申请内容不明确或者申请不符合规定要求的,市商务局办公室自收到申请之日起7个工作日内一次性告知申请人作出补正,明确需要补正的事项,申请人补正时间为收到补正告知书10个工作日。答复期限自收到补正的申请之日起计算。申请人无正当理由逾期不补正的,视为放弃申请,市商务局办公室不再处理该政府信息公开申请。

  3.依申请公开的政府信息公开涉及第三方合法权益的,市商务局办公室征求第三方的意见。第三方应当自收到征求意见书之日起15个工作日内提出意见。

  4.征求第三方和其他机关意见所需时间不计算在规定的期限内。

  (五)书面答复

  根据《条例》有关规定,市商务局办公室对政府信息公开申请作出相应书面答复:

  1.所申请公开信息已经主动公开的,告知申请人获取该政府信息的方式、途径;

  2.所申请公开信息可以公开的,向申请人提供该政府信息,或者告知申请人获取该政府信息的方式、途径和时间;

  3.依据《条例》的规定决定不予公开的,告知申请人不予公开并说明理由;

  4.经检索没有所申请公开信息的,告知申请人该政府信息不存在;

  5.所申请公开信息不属于市商务局负责公开的,告知申请人并说明理由;能够确定负责公开该政府信息的行政机关的,告知申请人该行政机关的名称、联系方式;

  6.已就申请人提出的政府信息公开申请作出答复、申请人重复申请公开相同政府信息的,告知申请人不予重复处理;

  7.申请公开的信息中含有不应当公开或者不属于政府信息的内容,但是能够作区分处理的,向申请人提供可以公开的政府信息内容,并对不予公开的内容说明理由;

  8.涉及商业秘密、个人隐私等公开会对第三方合法权益造成损害的政府信息,不予公开。第三方同意公开的,予以公开,第三方逾期未提出意见的,由市商务局办公室依照《条例》的规定决定是否公开。第三方不同意公开且有合理理由的,不予公开。市商务局办公室认为不公开可能对公共利益造成重大影响的,可以决定予以公开,并将决定公开的政府信息内容和理由书面告知第三方;

  9.申请人以政府信息公开申请的形式进行信访、投诉、举报等活动的,告知申请人不作为政府信息公开申请处理并告知通过相应渠道提出;

  10.申请人申请公开政府信息的数量、频次明显超过合理范围,要求申请人说明理由。申请理由不合理的,告知申请人不予处理;申请理由合理,但是无法在《条例》规定的期限内答复申请人的,由市商务局办公室确定延迟答复的合理期限并告知申请人。

  市商务局办公室依申请提供政府信息,不收取费用。但按照申请人要求的形式提供政府信息,可能危及政府信息载体安全或者公开成本过高的,通过电子数据以及其他适当形式提供,或者安排申请人查阅、抄录相关政府信息。

  四、不予公开范围

  1.依法确定为国家秘密的政府信息,法律、行政法规禁止公开的政府信息,以及公开后可能危及国家安全、公共安全、经济安全、社会稳定的政府信息,不予公开。

  2.涉及商业秘密、个人隐私等公开会对第三方合法权益造成损害的政府信息,不予公开。但是,第三方同意公开或者市商务局办公室认为不公开会对公共利益造成重大影响的,予以公开。

  3.内部事务信息,包括人事管理、后勤管理、内部工作流程等方面的信息不予公开。

  4.在履行行政管理职能过程中形成的讨论记录、过程稿、磋商信函、请示报告等过程性信息以及行政执法案卷信息,不予公开。法律、法规、规章规定上述信息应当公开的,从其规定。

  五、监督保障

  公民、法人或者其他组织认为市商务局办公室未依法履行政府信息公开义务的,可以向市商务局投诉和举报。

  六、救济方式

  公民、法人或者其他组织认为市商务局办公室在政府信息公开工作中的具体行政行为侵犯其合法权益的,可以依法申请行政复议或者提起行政诉讼,即可以在接到信息公开申请答复文书之日起60日内向半岛综合app官网下载苹果 申请行政复议,或者在接到信息公开申请答复文书之日起6个月内向铁岭市人民法院提起行政诉讼。

  附:1.铁岭市商务局政府信息公开申请表.docx

  2.铁岭市商务局公开流程图.doc

  3. 邮寄地址.jpg

Baidu
map